Бюро механизации и автоматизации создано в числе первых и важнейших производств ещё в 1976 году, на заре основания самого нашего предприятия, называвшегося тогда Витебским телевизионным заводом.
За свою более чем 30-летнюю историю эти подразделения накопили огромный опыт и проделали колоссальную работу по оснащению нашего и других предприятий самым разнообразным нестандартным технологическим оборудованием. Постоянными заказчиками нашего оборудования долгие годы были и остаются многие предприятия в прошлом Советского Союза, а ныне России, Украины и Беларуси.
На сегодняшний день ОАО “Витязь” сохранило и развило в составе бюро механизации и автоматизации ("производство средств Механизации и Автоматизации") мощную машиностроительную базу. Имея солидный опыт выполнения масштабных проектов высокой сложности, здесь готовы оперативно разработать и добротно изготовить по Вашему заказу высококачественное технологическое оборудование.
Дополнительная информация по телефону: +375 (212) 26-57-32
1. Деревообрабатывающее оборудование:
- сверлильно-присадочные станки;
- ваймы сборочные;
- автоматы изготовления мебельных скоб;
- окрасочные камеры и камеры для нанесения клея;
- стружкоотсосы.
2. Гальваническое оборудование:
- спецвыпрямители;
- стационарные гальванические ванны, в том числе с электроподогревом;
- передвижные гальванические ванны, в том числе с электроподогревом;
- гальванические линии.
3. Конвейера и конвейерные системы:
- конвейеры для сборки электронных узлов;
- конвейеры для сборки и регулировки телевизоров;
- подъемники и грузопередаточные устройства;
- ленточные конвейеры различного назначения;
- подвесные цепные конвейеры.
4. Оборудование для производства печатных плат:
- полуавтоматы трафаретной печати;
- полуавтоматы сеткографической печати;
- линии ИК-сушки;
- линии УФ-сушки;
- линии лужения.
5. Оборудование для подготовки радиоэлементов, монтажа и сборки радиоэлектронных узлов:
- линии пайки;
- автоматы, полуавтоматы и ручные пресса для формовки радиоэлементов;
- пневмоотвертки, в том числе с тарированным моментом;
- рабочие места лужения;
- автоматы и полуавтоматы намотки каркасных и бескаркасных катушек;
- оборудование для подготовки проводов к монтажу.
6. Оборудование для переработки пластмасс, включая:
- измельчители;
- смесители;
- загрузчики сыпучих материалов;
- бункера для хранения и сушки материала;
- грануляторы;
- сепараторы;
7. Испытательное оборудование для испытаний различных видов товаров народного потребления и продукции производственно-технического назначения:
- Комплект оснастки для испытаний бытовой электротехники по ГОСТ 12.2.006-87 4И033.00.00;
- Комплекс испытания на влагостойкость бытовой техники по ГОСТ27570-87 4И037.00.00.00;
- Стенд испытания шнуров кабелей на перегибы по ГОСТ 12182.1-80 4И026.00.00.00;
- Установка испытания шнуров питания на изгиб по ГОСТ27580-87 4И021.00.00.00;
- Стенд испытания мебели 4И046.00.00.00;
- Оборудование и оснастка для проведения испытаний плитки тротуарной по СТБ10-71.
8. Окрасочное оборудование;
- Окрасочные линии;
- Окрасочные камеры;
- Бачки для приготовления краски.
9. Транспортно-складское и транспортное оборудование:
- подъемники и грузопередаточные устройства;
- Тележки транспортные различного назначения;
- Специальные тележки.
10. Орг.оснастка различного назначения:
- Стеллажи;
- Шкафы, в том числе вытяжные;
- Столы монтажника и регулировщика, и другие.
11. Устройства ввода-вывода информации:
- Устройства ввода-вывода информации в станки с ЧПУ;
12. Оборудование для мясоперерабатывающей промышленности:
- Автоматы изготовления клипс для упаковки колбасных изделий;
- Клипсаторы для упаковки колбас.
13. Оригинальные товары для отдыха и досуга:
- Коптильни разные;
- Мангалы;
- Рогатки складные для костра;
- Кабины душевые;
- Шампуры;
- Качели разные.
14. Электротехническая продукция:
- Таймеры;
Всегда рады вам:
| Адрес: | 210605, Витебск, ул. П. Бровки, 13А |
| Телефон: | 8-(10-375-212)-26-57-32 |
| E-mail: | nz_oma@tut.by |
| URL: | http://www.vityas.com/enterprise/oma/sfera/ |
Сепаратор магнитный
Сепаратор предназначен для отделения обрези магнитных металлов из потока измельченного материла после дробления бракованных изделий при вторичной переработке пластмасс.Сепаратор встраивается в любую систему подачи дробленого материала перед гранулированием или непосредственно литьем на термопластавтомате.
Высокая эффективность отделения обеспечивается за счет полного перекрытия проходного транспортного сечения полями блоков постоянных магнитов, расположенных многослойно.
Форма и размеры сепаратора определяются по конкретному сечению и типу трубопровода. Например, это может выглядеть вот так:

АГРЕГАТ ВЫПРЯМИТЕЛЬНЫЙ
Агрегат выпрямительный предназначен для питания гальванических ванн и оборудования электрохимической обработки металлов. Отличительной особенностью данного агрегата по сравнению с аналогичными выпрямительными агрегатами тиристорного типа является низкий уровень пульсаций выходного напряжения и тока, что позволяет существенно повысить качество покрытия, а также снизить расход используемых для покрытия материалов.
Агрегат имеет эффективную защиту от перегрузки, короткого замыкания, перегрева, пробоя изоляции. В комплекте поставки имеется пульт дистанционного управления, который может быть вынесен на расстояние до 50 метров от агрегата.
Агрегат имеет 3 режима работы:
- режим стабилизации тока;
- режим стабилизации плотности тока;
- режим стабилизации напряжения.
ОСНОВНЫЕ ТЕХНИЧЕСКИЕ ХАРАКТЕРИСТИКИ:
Габаритные размеры, мм - длина 800 - ширина 500 - высота 1500 7. Масса, кг, не более 200| Диапазон регулирования выходного напряжения, В | 1…6 |
| Диапазон регулирования выходного тока, А | 25…315 |
| Коэффициент пульсации выходного напряжения и тока, не более | 0,1 |
| Точность автоматической стабилизации, % - выпрямленного напряжения и тока - плотности тока |
± 5 ± 10 |
| Напряжение питающей 3-х фазной сети, В | 220/380 ± 10% |
| Габаритные размеры, мм | длина 800 ширина 500 высота 1500 |
| Масса не более, кг | 200 |
ТАЙМЕР АКУСТИЧЕСКИЙ
НАЗНАЧЕНИЕ:
Таймер акустический (далее ТА) предназначен для непрерывной круглосуточной эксплуатации в местах общего пользования и других помещениях, где освещение необходимо периодически на фиксированные промежутки времени.
ТЕХНИЧЕСКИЕ ХАРАКТЕРИСТИКИ:
| Напряжение сети, В | 210-240 В |
| Частота сети, Гц | 50 |
| Минимальная мощность нагрузки, ВА (cos φ≥0,5) | 25 |
| Максимальная мощность нагрузки, ВА (cos φ≥0,5) | 250 |
| Рабочая температура, °С |
+10...35 50 Гц |
| Габаритные размеры (не более), мм |
длина 105 ширина 105 высота 45 |
| Масса, не более, г | 100 |
| Степень защиты корпуса | IP 41 |
| Класс защиты по ГОСТ 12.2.007.0-75 | 0 |
УСТРОЙСТВО И ПРИНЦИП РАБОТЫ:
ТА реагирует на шумовые эффекты частотой от 40 до 15000 Гц (закрывание двери, шум шагов, голос). В дежурном режиме ТА находится в состоянии покоя (свет не горит), при возникновении звуковых колебаний он включает нагрузку освещения и находится в таком состоянии в течение 60 сек ±5, после чего автоматически отключает нагрузку от сети. При возникновении звуковых колебаний в течение данного промежутка времени таймер сбрасывается, и отсчет времени начинается заново. Работоспособность обычных выключателей сохраняется.
ПОДКЛЮЧЕНИЕ И НАСТРОЙКА:
Подключение и настройку ТА необходимо производить при полностью отключенном напряжении.
ТА устанавливается в любом удобном месте, достаточном для размещения блока в непосредственной близости от осветительного прибора на плоской прочной поверхности из несгораемого материала. Положение в пространстве может быть произвольным.
Монтаж ТА выполнить следующим образом:
- установить в требуемом месте два дюбеля Ø6 или Ø8 мм (дюбеля в комплект поставки не входят);- снять крышку;
- закрепить ТА шурупами, завернув их в установленные дюбеля;
- продеть питающие провода и провода, идущие к светильнику, через свободные сальниковые вводы*;
- произвести подключение проводов к клеммам ТА согласно схеме;
- закрыть крышку ТА.
Внутри ТА провода соединяются зажимами согласно схеме:
*Можно использовать существующие провода, идущие к светильнику, разрезав их в месте установки ТА. Поскольку подключение производится клеммами, установленными на гибких проводах, наращивать существующие провода или прокладывать дополнительные не требуется.
После подключения блока дополнительной настройки не требуется. ТА реагирует на звуки в объеме помещения, где установлен.
Стружкоотсос 1Р747.00.00.00
Устройство предназначено для удаления отходов древесины в деревообрабатывающей промышленности.
ТЕХНИЧЕСКИЕ ХАРАКТЕРИСТИКИ:
| Производительность отсоса воздуха, м3/час | 1900 |
| Диаметр входного отверстия, мм | 160 |
| Диаметр колеса вентилятора, мм | 330 |
| Диаметр присоединительного патрубка, мм | 160 |
| Электропитание от трёхфазной сети переменного тока, | 380±38 В 50 Гц |
| Мощность электродвигателя, кВт | 1,5 |
| Габаритные размеры, мм | длина 1110 ширина 750 высота 2480 |
| Масса, не более, кг | 110 |
Комплект оснастки для испытаний бытовой электротехники по ГОСТ 12.2.006-87 4И033.00.00
| № п.п | Обозначение | Наименование | №пункта по ГОСТ |
|---|---|---|---|
| 1 | 4И 033.01.00 | Испытательная антенная вилка | 1.2.5 |
| 2 | 4И 033.02.00 | Испытательный штырь Ø 4 мм. | 9.1.3 |
| 3 | 4И 033.02.00-01 | Испытательный штырь Ø 2 мм. | 9.1.5 |
| 4 | 4И 033.03.00 | Отвертка калибровочная | 1.7.1 |
| 5 | 4И 033.02.00-01 | Отвертка калибровочная | 1.7.1 |
| 6 | 4И 033.04.00 | Шарнирный испытательный палец | 9.1.1 |
| 7 | 4И 033.05.00 | Жесткий испытательный палец | 9.1.1 |
| 8 | 4И 033.06.00 | Стандартный испытательный штырь | 9.1.4 |
| 9 | 4И 033.07.00 | Установка испытаний устройств, составляющих часть сетевого разъема | 1.5.4 |
| 10 | 4И 033.08.00 | Динамометр 50 Н | |
| 11 | 4И 033.09.00 | Испытательный молоток | 12.1.3 |
| 12 | 4И 033.10.00 | Приспособление для испытания на крутящий момент | 12.2 |
| 13 | 4И 033.11.00 | Крюк испытательный | 8.2 |
| 14 | 4И 033.12.00 | Испытательная игла | 9.3.6 |
| 15 | 4И 033.13.00 | Динамометр 20 Н |
Оборудование и оснастка для проведения испытаний плитки тротуарной по СТБ10-71
| № п.п | Вид испытаний, наименование оборудования | Параметры оборудования (п. НД) | Где требуется (методика п.НД) | Примечание |
|---|---|---|---|---|
| СЖАТИЕ И РАСТЯЖЕНИЕ ПРИ ИЗГИБЕ | ||||
| 1 | Устройство для испытаний на растяжение при изгибе | СТБ 1152-99 | ГОСТ10180-90 П.5.3.1 | 4И078.10.00.00 |
| 2 | Стальные пластины | СТБ1152-99 | ГОСТ10180-90 П.5.3.1 | 4И078.03.00.00; -01 |
| 3 | Прибор для измерений отклонений от плоскостности образцов ±0,01мм на 100мм | ГОСТ10180-90 | ГОСТ10180-90 П.4.7 | 4И078.02.00.00 |
| 4 | Прибор для измерений отклонений от перпендикулярности образцов ±0,01мм на 100мм | ГОСТ10180-90 | ГОСТ10180-90 П.4.6 | 4И078.01.00.00 |
| МОРОЗОСТОЙКОСТЬ | ||||
| 5 | Ванны для оттаивания образцов с устройством для поддержания температуры (18±2)ºС раствора NаСl 5% |
СТБ 1152-99 п.5.4, ГОСТ10060.2-95 П.4.8, ГОСТ10060.0-95 |
3И079.00.00.00 | |
| 6 | Сетчатый контейнер | ГОСТ10060.1-95 п.4.5 | ГОСТ10060.1-95 п.4.5 | 3И078.06.00.00 |
| 7 | Стеллаж для хранения ванн с образцами в растворе NаСl 5% | ГОСТ10060.1-95 п.4.6 | 3И080.00.00.00 | |
| 8 | Емкости 90x90x110 : 120x120x140 мм (для кубов 100мм) |
|
ГОСТ10060.2-95 п.4.9 | 3И078.07.00.00: -01 |
| 9 | Сито для кварцевого песка с отверстиями 0,315 мм | ГОСТ28570-90 п.4.8, приложение п.п.3,4. | 3И078.04.00.00: -01 | |
| ВОДОПОГЛОЩЕНИЕ | ||||
| 10 | Противни |
ГОСТ12730.3 п.4.4; ГОСТ12730.2 п.2.1 |
3И078.11.00.00 | |
АВТОМАТ ИЗГОТОВЛЕНИЯ СКОБ МАПИ 1.000.000.
Автомат изготовления скоб предназначен для изготовления П-образных скоб (клипс), применяемых для крепления оболочки колбасных изделий.
Технические характеристики:
| Производительность, шт/час | 4000 |
| Применяемый материал для изготовления клипс | проволока АД0, АД1, Д18 |
| Диаметр проволоки, мм | 2,5…3 |
| Размеры клипсы, мм | длина 9…15 высота 10…14 |
| Электропитание от трёхфазной сети переменного тока, В | 380±38 |
| Мощность электродвигателя, кВт | 0,75 |
| Габаритные размеры, мм | длина 1320 ширина 755 высота 1190 |
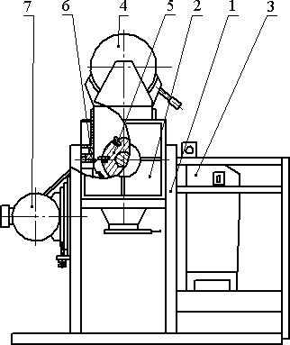
Дробилка слитков пластмасс (полистирола)
Дробилка предназначена для вторичной переработки отходов производства термопластичных пластмасс в виде слитков.
Технические характеристики:
| Материал, измельчаемый дробилкой | Полистирол |
| Производительность, не менее, кг/час | 100 |
| Размеры загрузочной горловины, мм | высота 150 ширина 590 |
| Частота вращения ротора, об/мин | 900 |
| Количество блоков с ножами в роторе, шт. | 4 |
| Количество ножей в блоке, шт. | 5 |
| Диаметр ротора по кромкам ножей, мм | 348 |
| Количество неподвижных ножей, шт | 2 |
| Размер отверстий в калибровочной решетке, мм | 10 |
| Потребляемая мощность, не более, кВт | 37 |
| Габаритные размеры, мм | длина 2200 ширина 1100 высота 2140 |
| Масса не более, кг | 2 100 |
| Электропитание от трёхфазной сети переменного тока | напряжение (220±22)/(380±38) В частота (50 ± 1) Гц |
1. Станина
2. Корпус
3. Пульт управления
4. Барабан загрузочный
5. Ротор ножевой
6. Нож неподвижный
7. Электродвигатель
Гранулятор 3Л 099.00.00.00.00
Гранулятор предназначен для переработки дробленых фракций пластмасс (в том числе полистирола), полученных при измельчении литниковых систем, бракованных корпусных деталей и так далее, с целью получения гранул одинаковой формы и размеров, пригодных для вторичного использования при литье на термопластавтоматах.
Гранулятор предназначен для эксплуатации в условиях производственных помещений категории.
Технические характеристики:
| Производительность (по полистиролу), кг/час | 80…90 |
| Рабочий объем шнека экструдера, см3 | 2820 |
| Диаметр шнека экструдера, мм | 100 |
| Объем водяной ванны, л | 420 |
| Расход свежей воды не более, м3/час | 0,2 |
| Расход сжатого воздуха, м3/час | 45 |
| Установленная электрическая мощность, кВт | 130 |
| Габаритные размеры, мм | длина 8600 ширина 1300 высота 2180 |
| Масса не более, кг | 4 400 |
| Электропитание от трёхфазной сети переменного тока | напряжение (220±22)/(380±38) В частота (50 ± 1) Гц |
Загрузчик сыпучих материалов
Загрузчик сыпучих материалов 1Л057.00.00.00 предназначен для подачи пластикового материала в гранулах из различных емкостей в расходные бункера термопластавтоматов при производстве изделий из пластмасс.
Может использоваться и в других отраслях промышленности для подачи гранулированных материалов.
Загрузчик состоит из вентилятора с электродвигателем, пульта управления, фильтра воздушного закрепленных на раме, и бункера с устройством дозирования, который устанавливается на расходном бункере оборудования.
Может применятся для укомплектования термопластавтоматов любой мощности.
Технические характеристики:
1. Производительность, кг/час 3002. Потребляемая мощность, кВт 1,7
Устройство ввода-вывода программ в оборудование с ЧПУ
Предназначен для ввода-вывода программ в оборудование ЧПУ с использованием современных носителей информации вместо традиционной перфоленты, замены фотосчитывающих устройств ( ФСУ ) и перфораторов.
В минимальной конфигурации устройство представляет собой конструктивно законченный БЛОК ФС/ПЛ, подключаемый к оборудованию ЧПУ вместо ФСУ и перфоратора и осуществляющего ввод-вывод программ с обычного гибкого магнитного диска ( ГМД ) формата MS-DOS ёмкостью 1.44 Мбайт . Оборудование с ЧПУ НЕ ТРЕБУЕТ ДОРАБОТКИ программной или аппаратной части, так как интерфейс БЛОКА ФС/ПЛ полностью соответствует заменяемому ФСУ и перфоратору.
В расширенном варианте несколько ( до 12 включительно ) БЛОКОВ ФС/ПЛ могут подключаться через БЛОК МУЛЬТИПЛЕКСОРА к одному порту RS-232 ПЭВМ. И ввод-вывод программ может осуществляться не только с ГМД , но и непосредственно с ПЭВМ. Это целесообразно для производственных участков, на которых используется значительное количество единиц оборудования с ЧПУ. Используемый интерфейс обеспечивает гальваническую развязку оборудования с ЧПУ друг от друга и от ПЭВМ.
Основные технические характеристики:
1. Максимальный объём программ не более 32 кбайт;
2. Тип заменяемого перфоратора - ПЛ 150М ;
3. Тип заменяемого ФСУ зависит от исполнения БЛОКА ФС/ПЛ. В настоящее время изготавливаются исполнения, заменяющие следующие типы ФСУ:
- FS 1501 ( вариант A/P ) ;
- FS 1501 ( вариант B/P ) ;
- CONSUL 337.601 AM .
4. При работе с ГМД осуществляется просмотр содержимого корневого каталога ГМД и выбор необходимой программы.
5. Конструкция БЛОКА ФС/ПЛ позволяет устанавливать его как вертикально, так и горизонтально, что облегчает его размещение на оборудовании с ЧПУ .
6. Напряжение питания – 220 В , 50 Гц .
ОКРАСОЧНЫЙ КОМПЛЕКС
Окрасочный комплекс 3М015.00.00.00 предназначен для нанесения и сушки водорастворимых эмалей на корпуса и кожуха телевизоров с непрерывным их перемещением в процессе сушки. Комплекс может быть использован для покраски других изделий с габаритными размерами не больше указанных в технических характеристиках. В состав комплекса входят туннель сушки, кабина окрасочная и конвейер транспортировки.
Технические характеристики:
| Максимальные размеры окрашиваемых деталей, мм |
длина 800 ширина 600 высота 420 |
| Количество рабочих мест маляров, шт | 3 |
| Вид движения конвейера | непрерывный |
| Скорость движения конвейера, м/мин | 0,4...2,4 |
| Расстояние между паллетами, м | 1,2 |
| Вид теплоносителя | электронагрев ТЭНами с рециркуляцией воздуха |
| Темпуратура сушки, ºC | 30...60 |
| Количество зон регулирования температуры | 7 |
| Климатические условия в окрасочной кабине |
температура воздуха, 19...21ºC влажность, 60...70% |
Парк оборудования, которым располагает производство Службы механизации и автоматизации, включает:
- станки токарной группы (16К20, ИЖ250, 1М63, 1ИС611)
- станки фрезерной группы (67К25, AG400, ГФ2171, 6Т83, 6Р82, 6Т10, 6Г453)
- станки зубообрабатывающей группы (5К32)
- станки долбёжной группы (7А420)
- станки шлифовальной группы (3Е711, 3М151, 3К227, 3У10, 3Е180, 3У133, 3Д711, 3Л722, 32К83)
- станки сверлильной группы (2М112, 2Л53, 2Н125, 2Н135, 2Н106, 2Е440, 2431СФ1012А614)
- координатно-расточные станки (BKOZ900)
- ножницы гильотинные (НК3418)
- гибочные машины, вальцы листогибочные, трубогиб (ХОМ2000, ИВ2142, ДМВ991)
- пресса (1ГНД2, РН-М100, Н4518, КД2322, П6328)
- ножницы роликовые, ножовка механическая, абразивно-отрезной станок
- сварочное оборудование.
- по обработке материалов механическим способом,
- сварка материалов в среде инертных газов, электро-дуговая сварка, контактная сварка. Сварка алюминия и нержавеющей стали.
- Порезка заготовок на ножницах кривошипных. Плазменная резка материалов и порезка материалов на на абразивно-отрезном станке.
- Осуществляется электромонтаж печатных плат любого уровня сложности, объемный монтаж стендов блоков и т.д.
- Изготовление жгутов и различной кабельной продукции.




